中秋佳节前夕,我司佳兆业云望府项目今年申报的“一种防漏浆的阴角铝模板”及“一种烟道结构”两项专利均顺利通过国家知识产权局审查,被授予专利权并颁发了实用新型专利证书。
《一种防漏浆的阴角铝模板》摘要:在阴角铝模板与钢筋桁架楼承板的连接面上设有连接槽,并在连接槽内填充橡胶,钢筋桁架楼承板通过螺丝与阴角铝模板连接,其中,螺丝底部的螺钉固定于连接槽内的橡胶中,从而解决钢筋桁架楼承板与阴角铝模板的连接处漏浆问题。橡胶具有高弹性、高耐、磨性,在连接槽内填充橡胶,可以有效提高铝模板与钢筋桁架楼承板之间的严密性,同时也解决了楼承板固定及铝模板拆除困难的问题,提高施工效率。

附图说明:1 第一侧面,2 其他侧面,3 连接槽,4 弹性材料,5 销钉孔,6 销钉,7 钢筋桁架楼承板、 8 螺丝
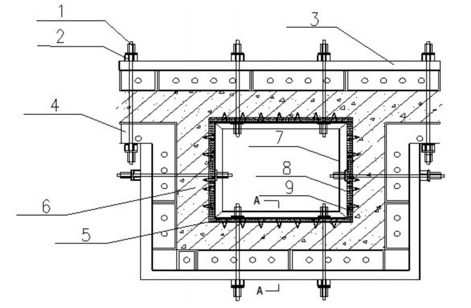
《一种烟道结构》摘要:本发明提供了一种烟道结构,包括:烟道内腔、保温层、混凝土层、铝模板和内外支撑组件。将钢筋桁架楼承板组合成的烟道内腔作为成品烟道的替代物,贴近内侧施工保温层,用角钢进行内支撑固定,外侧铝模扳加背楞支撑拼装,内外侧采用对拉螺杆进行固定,中间部分采取钢筋混凝土现浇。该方案直接减少了后续成品烟道的安装,为项目施工节省大量工期;减少后续成品烟道的安全隐患,无需担心二次作业的施工安全;烟道内腔和成品烟道一起整体浇筑,避免了烟道漏烟漏风等情况的发生。
附图说明:1 紧固件,2 竖向背楞,3 横向背楞,4 铝模板,5 钢筋套筒,6 混凝土层,7 内支撑件,8 支撑面板,9 保温层
公司经过多年的技术投入和积累,已建立持续发展的科技创新长效机制。在两项专利申请过程中,公司谭明辉总工程师、曾令新总监、范昌斌总监、王邢龙总监提供了多项有益建议及新思路。在各级领导和部门的指导和支持下,佳兆业云望府项目团队积极努力自主创新,不断完善,最终顺利喜获专利证书。